ที่มา
ใครที่เล่น PS4 ก็คงจะหงุดหงิดรำคาญกับเสียงพัดลมเป่า ดูดไล่ความร้อนของ CPU ในช่วง Full Load กันมา บางคนถึงกับต้องแงะเครื่องมาลงซิลิโคนหล่อเย็นใหม่กันเลย แต่สำหรับเครื่องเล่นเกมในอนาคตอย่าง PS5 จะไม่มีปัญหาเสียงพัดลมดังราวกับเครื่องบินกำลัง Take Off เพราะเทคโนโลยีหล่อเย็นแบบใหม่ที่ PS5 ใช้นั้น ก็คือ “โลหะเหลว” !!
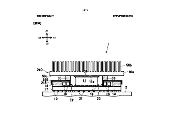
ล่าสุดมีรายงานการจดสิทธิบัตรที่เผยแพร่ใหม่จากทาง SONY ที่ระบุถึง“ส่วนประกอบระบบระบายความร้อน” ระบุว่ามีแนวคิดในการใช้ “โลหะเหลว” เป็น “วัสดุนำความร้อน” CPU และ GPU ที่ทรงพลังของ PlayStation 5 ก่อนที่เราจะลงลึกถึงในสิทธิบัตที่หลุดมานี้ ก็อยากจะเตือนทุกคนว่า นี่คือ “ข้อมูลที่ยังไม่ได้รับการยืนยัน” เป็นข้อมูลจากการจดสิทธิบัตร และอาจจะไม่ได้ใส่มาจริงๆในการผลิตขั้นสุดท้าย แต่เรื่องที่ทาง SONY พยายามหาทางที่จะทำให้ PS5 เย็นลงกว่าคอนโซลรุ่นก่อนนั้น เป็นความจริง เพราะมีการประกาศตั้งแต่ช่วงการนำเสนอข้อมูลทางเทคนิคอย่างละเอียดเมื่อช่วงกลางปี 2020 ที่ผ่านมา
เมื่อพิจารณาจาก PS5 มี ความสามารถในระดับสูงที่สามารถส่งมอบงานภาพ 4K ได้ แถมรันสารพัดเทคโนโลยีของตอนนี้และอนาคต การประมวลผลจะทำงานอย่างหนักหน่วง และแน่นอนว่ามันจะสร้างความร้อนได้มากขึ้น เร็วขึ้น ทำให้การระบายความร้อนเป็นสิ่งสำคัญอย่างยิ่ง ตัวอย่างชัดเจนที่สุดก็คือ “เครื่อง devkit” นั้น มีการติดตั้งพัดลมระบายความร้อนมากถึงหกตัว!

สถาปนิก PS5 Mark Cerny กล่าวว่าเกมเมอร์จะมีความสุขมากกับการแก้ปัญหาการระบายความร้อนของ PS5 Sony ได้ออกแบบวิธีการทำงานของ SoC ของ PS5 ใหม่โดยการสร้างแรงดันไฟฟ้าให้คงที่และใช้ความเร็วสัญญาณนาฬิกาของ CPU และ GPU แบบแปรผัน ตอนนี้สิทธิบัตรล่าสุดแสดงให้เห็นถึงความพยายามในการระบายความร้อนเหล่านั้นมากขึ้น ด้วย “สารบางอย่าง” ประเด็นที่น่าสนใจของการจดสิทธิบัตรการระบายความร้อน PS5 นี้คือเอกสารแนะนำ “วัสดุนำความร้อน” ที่มี “ความลื่นไหล” หรืออีกนัยหนึ่งคือโลหะเหลว การประดิษฐ์ในสิทธิบัตรเกี่ยวข้องกับการมีโลหะเหลว (อาจเป็นโลหะผสมที่เป็น“แกลเลียม” (Gallium) ธาตุโลหะสีเงินที่ สามารถคงสภาวะของเหลวได้ในอุณหภูมิห้อง) แน่นอนว่าโลหะเหลวอาจช่วยลดความร้อนได้ดีเนื่องจากคุณสมบัติการนำความร้อน แต่ก็มีความเสี่ยงเช่นกันเนื่องจากคุณสมบัติการนำไฟฟ้านั่นเอง
การใช้โลหะเหลวนี้ไม่ใช่วิธีใหม่ เพราะในเหล่าบรรดาเทพ PC ได้ใช้สิ่งนี้มาซักระยะหนึ่งแล้ว แต่ที่ไม่แพร่หลาย เพราะว่าการติดตั้งที่ละเอียดอ่อน และวุ่นวายสุดๆ แต่ก็เห็นหลายๆค่าย PC รวมไปถึงโทรศัพท์มือถือสายเกมมิ่งโฟน ก็มีสิ่งนี้ให้เช่นกัน
PS5 มีกำหนดขายในช่วงปลายปี 2020 นี้
แอดมิน AK47
เรื่องที่เกี่ยวข้อง
Playstation 5 [PS5 hardware revealed]
คุ้มมั้ย ถ้าจังหวะนี้ ซื้อ PS4 เลย หรือเก็บไว้ซื้อ PS5 ดี?
-
ย้อนอดีตเกมดัง Resident Evil Outbreak : เกมซอมบี้ไอเดียดีที่มาก่อนเวลา#ResidentEvil #ResidentEvilOutbreak #Capcom #SurvivalHorror #RaccoonCity #Biohazard #PS2 #OnlineGaming #RetroGaming #ข่าวเกม
-
Resident Evil 9 : Requiem [Review / สั่งซื้อแผ่นเกม / ราคา / วันวางขาย]27 กุมภาพันธ์ 2026
-
BEYBLADE X : CX-17 Random Booster Vol.10 [สั่งซื้อ / ราคาดี / เบย์เบลดใหม่]#beybladex #kctoysbeybladex #beybladexthailand #ベイブレードX







































